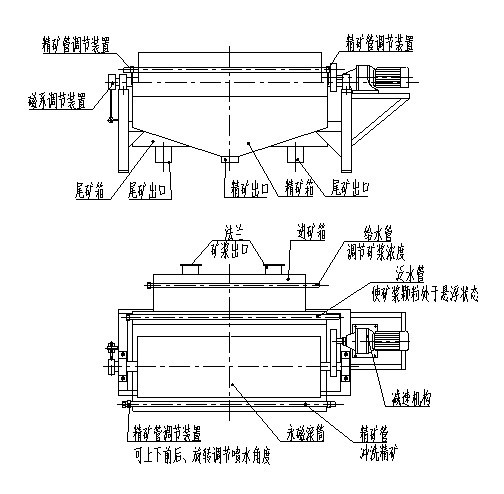
逆流型磁选机的简图
逆流型磁选机的简图,逆流型磁选机给矿箱带给料管,给料入口段可改善给料的分布,使矿浆沿滚筒全长进料;逆流型磁选机分选区长;无孔塞.全宽围堰,可调节式尾矿溢流排料,可手动控制液位,允许给矿液流波动.

逆流型储槽适用于处理中-高密度介质 - 含固量30%-50%.粒度5mm(4目)的介质,逆流型磁选机储槽具有回收率极高的特点,处理量高于DW型.但CR型的脱水区短,精选性能较弱.与DM型相比,CR型所回收的介质比重较低.
1.逆流型磁选机的特点
1.逆流型磁选机的特点
1.1公司开发了砂选铁磁选机设备,选用Nd-Fe-B复合磁系统精工制造,磁选机在用户实践中反复提高除铁效果,具有大量的加工,高效回收特性.
1.2设备节能环保规划,减少资金,快速获利.干砂系列具有振动筛和运输设备,叉车给料方便,湿砂和湿砂分离两系列,系列砂泵抽料,也可安装在采砂船,河流,沙滩,沙,沙等地,不固定任何时间拖曳,90-150立方米的材料或更多.
1.3材料筛分后,细砂颗粒以高磁力均匀分布在转鼓外表面,高级铁砂通过高磁力吸附在转筒表面,并通过转盘输送到下部圆筒.输送带到集中区,在此期间非磁性材料,磁效不直接传输到尾矿区,达到海铁铁提取的目的.
2.逆流型磁选机的简图
2.逆流型磁选机的简图
下一篇:90年建军远力磁选机是如何选矿的【远力】上一篇:多用磁选机图片【远力】
相关资讯
同类文章排行
- 磁选机里面构造图片是什么样子的呢
- 磁选机品位低如何提高
- 平板磁选机磁铁排列图
- 哪里有卖二手的涡电流金属分选机
- 磁选机里面构造图片
- 永磁对辊式磁选机
- 滚筒式磁选机的内部结构
- 干式磁选机代理加盟
- taptap游戏官网电脑版适用范围及优缺点介绍
- 干式磁选机安全操作规程
- 浙江萧山磁选滚筒内部结构图
- taptap游戏官网电脑版设备型号及具体参数
- 涡电流磁辊结构图,如何分选铜铝
- 磁选机的入料浓度如何确定,介质如何检测
- 顺流磁选机跑尾怎么处理
- 永磁内置驱动带式输送机滚筒简单介绍
- 日常使用湿式磁选机在工作中有时会出现噪音大的问题该如
- 顺流型磁选机的结构及原理
- 半逆流式磁选机示意图【图文】
- ctbtaptap游戏官网电脑版结构及原理




